当前位置:首 页 > 供需中心 > G部--物理

找项目 找人才 找成果 找专利 找融资

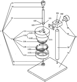
三电极反应器及其应用
添加时间:2023-11-07 浏览次数: 84

专利号:2016101636066

本发明提供了一种三电极反应器,该三电极反应器整体密封性良好,可有效避免外界空气的渗入或内部气体的泄露,既保证了产气结果的可靠性,也可以实现高纯度H2的制备;该三电极反应器既可外接电化学工作站或电流电压表,又能对反应器内部进行洗气和产气取样,因而能实现光电解水过程的同步光电化学行为与产气量分析,从而深入探索光电解水系统内在的光电化学机制,并对光电解水效率进行评价。


友情链接
FRIENDSHIP LINK
惠企知识产权研究院    
联系电话:0631-5166712 联系地址:山东省威海市环翠区城阳路36号606室 联系邮箱:kjcgzhcjh@163.com
版权所有:威海市科技成果转化促进会 鲁ICP备2023019057号-1