当前位置:首 页 > 供需中心 > H部--电学

找项目 找人才 找成果 找专利 找融资

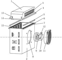
一种带有散热片的伺服驱动器
添加时间:2023-11-08 浏览次数: 87

专利号:2020226818864

本实用新型公开了一种带有散热片的伺服驱动器,包括机壳、机盖、散热风扇、散热安装架;机盖盖合在机壳的上方,机盖的左侧壁、右侧壁处均固设有一号散热机构;机壳的右侧壁上开设有安装孔,散热安装架插入到安装孔内并可拆卸的安装在安装孔处,机壳的左侧壁处固设有二号散热机构;一号散热机构、二号散热机构均为双层结构,且具有相互平行且交错分布的外层散热片、内层散热片;散热风扇位于机壳内并通过驱动电机连接散热安装架。本新型对伺服驱动器壳体的散热性能进行改善,快速地将伺服驱动器内部的大量热量排出,且提高伺服驱动器的工作安全性;此外,大大便利了本伺服驱动器的检修。


友情链接
FRIENDSHIP LINK
惠企知识产权研究院    
联系电话:0631-5166712 联系地址:山东省威海市环翠区城阳路36号606室 联系邮箱:kjcgzhcjh@163.com
版权所有:威海市科技成果转化促进会 鲁ICP备2023019057号-1