专利号:2015109089937
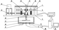
本发明提出了一种液动压力、浮力及上浮距离的检测方法,所采用的液动压抛光设备包括抛光盘、容器、滚珠花键轴、动板和侧板,将用于液动压力测量的硅压阻式压力传感器固定在容器底部;用于浮力检测的压电式测力传感器安装在滚珠花键轴的上方;用于检测间隙距离的电感式传感器固定在容器底部;用于检测浮动距离的光栅读数头设置在动板上。本发明在微米级间隙小即实现了压力检测又实现了距离检测;将高速旋转的抛光盘的上浮量检测转化为动板的上浮量检测,减小了抛光盘表面不平整引起的检测误差;分别设置了液动压力、上浮力以及间隙距离和浮动距离的检测,可以通过拟合实验结果进行对比,保证实验的精确性。
