专利号:2017104714752
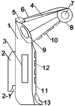
本发明公开了一种新型环保节能灯具,包括本体、通过转动轴与所述本体连接的照明管,所述本体为圆柱体,在本体的后背位置处设置有充电手把,所述充电手把与本体之间活动连接;所述本体内装配有发电器、蓄电池和旋转主轴,所述充电手把通过推杆与连接在旋转主轴上的转动圈相配合,所述旋转主轴顶部通过联动杆与所述发电器内部的转子传动配合,在所述发电器上还安装有定子;所述发电器输出端与所述蓄电池之间电连接;所述照明管前端安装有前灯,且在照明管的下部分布有多个间隔设置的下灯;对灯泡具有很好的保护作用;且在使用的过程中能够进行手动充电,这样会给我们的使用者带来很大的方便。
