当前位置:首 页 > 供需中心 > H部--电学

找项目 找人才 找成果 找专利 找融资

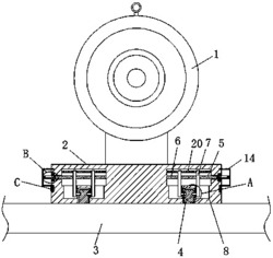
一种便于安装的电动机
添加时间:2023-11-23 浏览次数: 106

专利号:2018109971860

本发明涉及电动机技术领域,且公开了一种便于安装的电动机,包括电动机主体、底座和支撑台,所述电动机主体固定设置在底座的上端,所述支撑台的上端竖直固定连接有两个支撑板,两个所述支撑板呈对称设置,所述底座的下端与两个支撑板的位置对应处均开设有条形槽,两个是条形槽分别与两个所述支撑板相匹配,所述底座的内部位于两个条形槽的上方均设有第一空腔,两个所述第一空腔的内部均设有安装机构。该可以一种便于安装的电动机,可以将底座与支撑台进行快速安装,降低了工作人员的劳动强度。



友情链接
FRIENDSHIP LINK
惠企知识产权研究院    
联系电话:0631-5166712 联系地址:山东省威海市环翠区城阳路36号606室 联系邮箱:kjcgzhcjh@163.com
版权所有:威海市科技成果转化促进会 鲁ICP备2023019057号-1