专利号:2018111456228
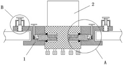
本发明涉及分接开关技术领域,且公开了一种分接开关的机电一体化装置,包括安装板、安装座和分接开关本体,安装座的表面开设有与分接开关本体相对应的第一通孔通孔,分接开关本体的左右两侧均开设有第一凹槽,且第一凹槽内设有卡紧机构,第一通孔的左右两侧均开设有L型空腔,且L型空腔内设有与卡紧机构相对应的按压机构,分接开关本体的左右两侧均设有L型支撑架。该分接开关的机电一体化装置,能够避免使用紧固螺栓对分接开关本体进行安装,增加了分接开关本体与安装座连接的稳定性,且能够使分接开关本体与安装板之间方便锁紧,同时能够有效减少两个安装座相撞而产生的撞击力,而且能够方便对第二弹簧进行更换。
