专利号:2018106873014
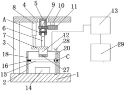
本发明公开了无油轴承润滑材料的表面粗糙度精密检测装置,包括底座,底座的上端固定连接有上端开口的暗箱及暗箱一侧的支撑柱,支撑柱的上端固定连接有支撑板,支撑板的底部中心处通过第一轴承转动连接有下端开口的螺纹套筒,螺纹套筒内螺纹连接有螺纹杆,螺纹杆的下端穿过螺纹套筒的开口端并向下延伸,且固定转动连接有固定板,支撑板的下端固定连接有限位伸缩杆,限位伸缩杆的另一端固定连接在固定板上,螺纹套筒的筒壁上固定套接有从动齿轮,支撑板的底部固定连接有驱动电机。本发明可以在线检测无油轴承润滑材料的表面光泽度,将检测结果实时反馈给检测系统,自动完成无油轴承润滑材料粗糙度的检测。
