专利号:2019100413505
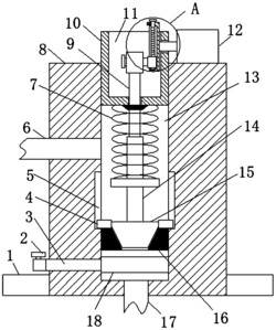
本发明涉及脉动控制器技术领域,且公开了一种机电一体化脉动控制器,包括安装块,安装块的上端中心处开设有圆柱槽,圆柱槽内设有固定板,固定板的上端中心处开设有倒锥形通孔,倒锥形通孔内设有倒锥形密封块,倒锥形密封块与倒锥形通孔相配合,倒锥形密封块的上端中心处竖直固定连接有第一支撑杆,第一支撑杆的上端中心处开设有凹槽,凹槽内设有缓冲机构,第一支撑杆通过缓冲机构连接有第二支撑杆,圆柱槽的槽口处固定连接有固定块,固定块的上端延伸至圆柱槽的外部并开设有安装槽。该机电一体化脉动控制器,可以方便调节工作时的脉动频率,降低脉控制器的故障率,还可以对油路中的杂质进行清理。
