专利号:2018111326807
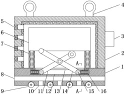
本发明涉及发电机技术领域,且公开了一种车载式发电机,包括底座,底座的上方设置有发电机本体,发电机本体的底部通过减震机构与底座的顶部固定相连,减震机构包括第一连接板和与第一连接板对称设置的第二连接板,第一连接板的顶部通过转轴转动连接有第一滚轮,第一滚轮的外圆侧壁固定套接有橡胶环,第一滚轮的外圆侧壁通过橡胶环与发电机本体的底部滚动相连,第二连接板的顶部通过转轴与发电机本体的底部转动相连,第一连接板和第二连接板通过铰链轴相铰接,且铰链轴位于第一连接板和第二连接板的中间位置,底座的顶部开设有第一滑槽。该车载式发电机,可以减少发电机所受的震动,使移动车行驶过程中减少对发电机的影响。
