专利号:201610583536X
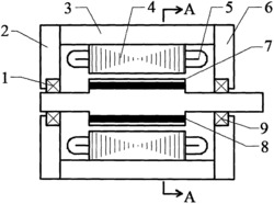
一种角振动激励装置,包括机座、定子铁心、定子绕组、无槽转子、永磁磁钢、配套轴承和端盖。其中定子铁心固定在机座内侧,且定子铁心设有绕组槽,定子绕组嵌放在定子铁心绕组槽中;定子绕组为两相,两相绕组轴线在空间上互相垂直,且匝数相同;无槽转子通过配套轴承与端盖固定,再与机座固定;无槽转子设有方形孔,永磁磁钢固定在方形孔中。激励装置工作时,两相定子绕组通入频率可调、幅值可调的交流电,无槽转子输出对应的幅值、频率可调的旋转角速度、角加速度量值。本发明的一种角振动激励装置,可以对旋转角速度、角加速度进行直接溯源,且输出信号频率范围宽;工作时能够产生较大的驱动转矩,可以实现较大转动惯量角运动传感器的动态校准。
