专利号:2019106618123
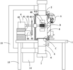
本发明涉及节能环保设备技术领域,且公开了一种生活废水水力发电装置,包括支撑板,支撑板的上表面固定连接有发电箱,发电箱的侧壁开设有圆形通孔,且圆形通孔的孔壁固定连接有密封轴承,密封轴承的内壁固定连接有发电机构,发电箱的上表面和下表面均固定连通有阀门,两个阀门远离发电箱的一端均固定连通有三通管,两个三通管远离阀门的一端均固定连接有连接头,发电箱的侧壁开设有通孔。该生活废水水力发电装置,具备提高生活废水中水流势能和动能利用效率,避免资源的浪费,提高发电装置的节能环保性能,以及使发电装置维护保养过程省时省力,降低了工作人员的劳动强度,进而提高了发电装置维护效率的等优点。
