专利号:2019108852337
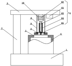
本发明涉及超声波传感器加工设备技术领域,且公开了一种超声波传感器的定位加压装置,包括底座,底座的上端固定连接有支撑柱,支撑柱远离底座的一端固定连接有支撑板,底座上设有定位壳体,定位壳体的上端中心处开设有通孔,支撑板的下端中心处对应定位壳体的位置固定连接有下压机构;下压机构包括控制器、驱动电机、螺纹杆、一端开口的螺纹管和下压板,驱动电机和控制器依次连接在支撑板的下端,驱动电机的输出端通过联轴器与螺纹杆的一端相连接。该超声波传感器的定位加压装置,能够解决目前在装配过程中容易出现压电陶瓷片偏离谐振腔的中心,导致信号衰减,传感器灵敏度降低的问题。
