专利号:2020102047309
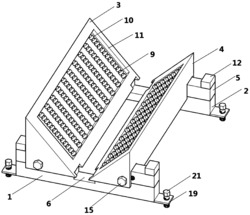
本发明涉及倒角生产设备技术领域,具体涉及一种平面磨床用倒角治具及安装结构,包括第一定位块、第二定位块、第一定位斜面以及第二定位斜面,第一定位块、第二定位块上左右两端均固定设有固定块,第一定位块、第二定位块中部上端均开设有方槽,第一定位斜面底部设有对应所述固定块和第一定位块的第一L型凹槽,第二定位斜面底部设有对应固定块和第二定位块的第二L型凹槽;该安装结构包括第一定位螺孔A、第一定位螺孔B、第一固定螺栓、第二定位螺孔A、第二定位螺孔B、第二固定螺栓;本发明可自由的调节定位斜面之间的间距,实现了对打磨物件倒角大小的调节,使得待打磨物件沿着定位斜面滑动进行打磨,提高了工作效率。
