专利号:2019110062280
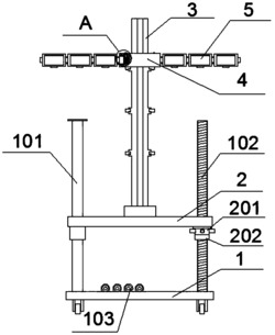
本发明提供了一种太阳能电池多组对比的辅助装置,包括底板,导杆,螺杆,辅助杠杆,升降板,升降螺母,辅助螺母,旋转装置,套筒,插块,电池片安装架;所述底板顶部四周一体式设置有三组导杆和一组螺杆,且螺杆外通过螺栓连接活动设置有升降螺母和辅助螺母;所述升降板四周开设有四组通孔,且升降板通过升降螺母活动设置于导杆和螺杆中间;通过设置有辅助杠杆和升降螺母,为辅助装置提供了调节太阳能电池高度的功能,转动升降螺母可以通过螺纹传动带动升降板升降,将太阳能电池升至方便进行测试的高度进行测试,且辅助杠杆可以有效增加升降螺母的杠杆力矩,为升降板的升降提供了更为便利的方式。
