当前位置:首 页 > 供需中心 > G部--物理

找项目 找人才 找成果 找专利 找融资

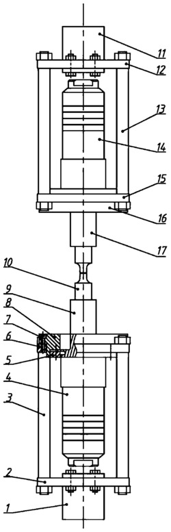
超声裂解试验装置与方法
添加时间:2023-11-24 浏览次数: 105

专利号:2018104417178

本发明公开了一种超声裂解试验装置与方法,涉及机械拉伸领域,该装置包括万能材料试验机、上超声振动机构、下超声振动机构和计算机系统等,上、下超声振动机构采用对称式结构设计,通过计算机系统控制上、下超声波发生器,使上、下超声波发生器分别同时产生振幅、频率、初相相同的正弦、余弦信号,使得两个超声波振幅、作用在试样上的应力相互叠加,裂解试样中间位置应力最大,通过调节超声振动的振幅、频率和振动模式,控制拉伸机拉伸速度,使试样在超声振动和静载力作用下拉伸断裂,适用于含裂解槽试样在超声振动作用下的拉伸裂解性能测试。与传统超声试验装置相比,该超声振动能量传递效率高,提高了超声振动振幅,高效节能。


友情链接
FRIENDSHIP LINK
惠企知识产权研究院    
联系电话:0631-5166712 联系地址:山东省威海市环翠区城阳路36号606室 联系邮箱:kjcgzhcjh@163.com
版权所有:威海市科技成果转化促进会 鲁ICP备2023019057号-1