专利号:2018106358668
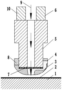
本发明公开了一种激光冲击和超声振动的复合曲面强化装置及方法,属于材料表面强化处理领域,该装置包括激光组件和振动组件;该方法采用激光冲击和超声振动同时对工件表面进行强化处理,通过施加超声振动,以防止激光冲击强化后冲击区域周边产生的凹凸不平;在激光冲击工件表面时,对冲击头施加超声振动,利用一定频率、振幅和模态的超声振动与激光冲击波产生相互作用,在材料表面一定深度形成合理的三维压应力分布,冲击头延长了等离子体爆炸产生的压力作用时间,最大化发挥了强化效果,且提高了工件的表面质量。本发明克服了传统强化工艺的缺陷,解决了单一激光冲击和单一超声振动强化材料表面的不足。
