专利号:2019108021920
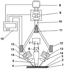
本发明公开了一种中空激光冲击和超声协同强化抗疲劳装置及加工方法,属于材料表面强化处理领域,该装置包括激光组件和振动组件;该方法采用中空激光冲击和超声振动同时对工件表面进行强化处理,通过施加超声振动,以防止中空激光冲击强化后冲击区域中心产生的凹凸不平;在中空激光冲击工件表面时,对振动头施加超声振动,利用一定频率、振幅和模态的超声振动与中空激光冲击波产生相互作用,在材料表面形成合理的残余压应力分布,振动头将中空激光冲击强化后冲击区域中心产生的凹凸不平压平,最大化发挥了强化效果,且提高了工件的表面质量。本发明克服了传统强化工艺的缺陷,解决了单一中空激光冲击和单一超声振动强化材料表面的不足。
