专利号:202110285517X
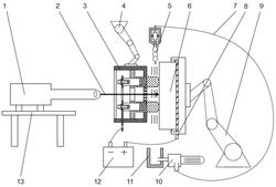
本发明公开了一种针对大工件的电致塑性和激光冲击复合强化方法及装置,包括电流施加组件、激光组件和喷水组件;所述电流施加组件用来提供电流从而使得待加工工件电致塑性;所述激光组件用来提供激光能量从而加工待加工工件;所述喷水组件在待加工工件形成平整的水帘作为激光冲击处理的约束层;将电致塑性与激光冲击相结合来强化材料,与单一的激光冲击相比,可以解决加工硬化、应力分布不均匀不深入、裂纹以及位错等一系列的问题。同时,针对大型工件,提出利用电流收集器,可以将电流充分引至加工区域,减少电流在大工件中的大量损耗,在待强化区域形成高密度的电流。该方法可以弥补电流能量偏小的问题,并且显著改善加工质量,提高加工效率。
