专利号:202010035997X
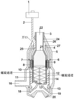
本发明公开了一种显著提升除湿性能的燃料电池滤清器及其除湿滤清方法,该滤清器三层同轴瓶状壳体结构,由内向外依次为内壳、中间壳体和外壳;内壳用于排气并设有螺旋隔板、吸水材料和有害气体吸附材料;中层壳体内侧设有螺旋脊突,螺旋脊突上部设有空气入口,中层壳体底部设有若干叶突,且底部内侧外围设有自洁通道;外壳设有进气口和排污口。含各种杂质的空气由螺旋通道向下,使得杂质和液滴进行离心运动,落在中壁壳体底面上,叶突旋转将大颗粒杂质和液滴排出自洁通道,且由排污口排出;随后空气进入内壳,经过分级除湿与有害气体吸除后经空气出口排出。本发明解决了现有空气滤清器自清洁性能弱、无法去除危害燃料电池组的有害气体的问题。
