专利号:2017104994096
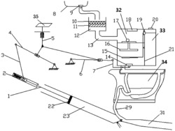
本发明提供一种基于负压排水的冲厕系统,包括机械连杆装置、水箱、盥洗池、废水处理箱、水箱进水管、阀门、浮力杆、漂浮物、塞子、隔板、活塞、储气室、收缩段、单向阀、导管、单向阀、喉管、虹吸弯管、扩散段、排污管和马桶;机械连杆装置连接水箱和文丘里管,水箱分为A、B两箱,分别装有净化的生活中水和自来水,文丘里管的喉部连接马桶的虹吸管。当触发机械连杆装置时,水箱A出水冲洗马桶,同时在喉管处形成射流,加大污物随排水排出时的冲力。本发明通过虹吸管和文丘里管配合设计,使马桶在冲水量不大的情况下形成虹吸,主要依靠连杆装置带动活塞对储气室中的气体加压,在喉管中形成高速流动的流体,从而产生吸附作用。
