当前位置:首 页 > 供需中心 > B部--作业;运输

找项目 找人才 找成果 找专利 找融资

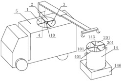
一种利用无人驾驶垃圾清理车清理小区垃圾的方法
添加时间:2023-12-04 浏览次数: 123

专利号:2019113574596

本发明属于无人驾驶领域,具体涉及一种利用无人驾驶垃圾清理车清理小区垃圾的方法,当小区内的垃圾箱中的垃圾收集满后进行报警,无人驾驶垃圾清理车可自动行驶至所需位置进行垃圾分类清理,并将收集到的餐厨垃圾进行初步粉碎后发酵,对餐厨垃圾进行二次利用,产生可以利用的沼气并收集。目的在于通过无人驾驶的垃圾清理车自动收集垃圾,减少人力的消耗,并将餐厨垃圾进行二次利用,减少资源的浪费。

友情链接
FRIENDSHIP LINK
惠企知识产权研究院    
联系电话:0631-5166712 联系地址:山东省威海市环翠区城阳路36号606室 联系邮箱:kjcgzhcjh@163.com
版权所有:威海市科技成果转化促进会 鲁ICP备2023019057号-1