专利号:2016101312033
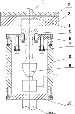
本发明公开了一种超声辅助挤压铸造成型装置及方法,它的结构包括加料腔板、超声器、凹模、下压头、挤压活塞;凹模的中间插置有顶杆;凹模的下端设置有加料腔板;加料腔板的中间开置有加料腔;加料腔的下端设置有下压头;下压头的下端与超声器相连接;下压头的下端、超声器的上端均安装在固定板上;固定板的两端分别与设置于两端下方的推力筒相连接;推力筒的下端均固定在推板上;推板的下端中间设置有挤压活塞;超声器位于固定板、推力筒和推板形成的空腔内。本发明可以提高铸造制件组织的均匀性并且细化结晶颗粒,从而提高制件的力学性能;此外,本发明的结构简单、操作方便、生产效率高,并且可以铸造出不同的具有复杂形状的制件。
