专利号:2017100600521
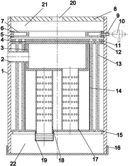
本发明公开了一种柴油机尾气消音与颗粒捕捉集成装置,包括桶形壁、消音机构、颗粒捕捉机构;桶形壁的内部下端设置有支撑板、上端插置有进气管,进气管与进气室相连通;进气室通过进气口与第一消音管相连通;第一消音管的左侧设置有第二消音管;进气管、进气室、第一消音管、第二消音管构成消音机构;下固定板与进气室的上壁集成为一体;下固定板与支撑板之间设置有塑烧板;下固定板的上端依次设置有上固定板、喷吹环;喷吹环、塑烧板、上固定板、下固定板构成颗粒捕捉机构。本发明具有集成度高、结构紧凑、占地面积小、生产成本较低的优点;二级降噪以及多层过滤处理可以有效提高柴油机尾气的降噪效果与颗粒捕捉率。
