专利号:2018104774546
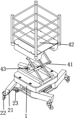
本发明公开了一种自走式电动型多功能作业平台,包括支撑机构、升降机构和动力机构;所述支撑机构包括支撑平台、限位支撑装置和行走装置;所述升降机构包括升降桁架和升降平台,所述升降桁架设置在支撑平台顶部,升降桁架顶端设置有升降平台;升降机构还包括液压缸,所述液压缸两端分别与支撑平台和升降桁架铰连接;所述动力机构设置在支撑平台内部,包括电源、电机、电磁减速箱和上带轮;本发明与现有的升降装置相比,不仅具备传统升降功能,而且具备自走、转向及定点限位支撑功能,不需要借助外部运输车辆进行运输,操作简单,作业效率高,稳定性高,清洁、环保、安全。
