专利号:2018109466363
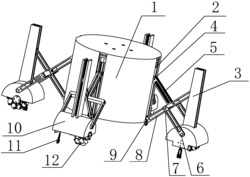
本发明公开了一种可变足迹的全向移动运载车,包括车体,车体的内部设置有悬架机构,外部设置有直线模组机构、变足迹机构、移动机构;直线模组机构包括一号直线模组、二号直线模组;一号直线模组、二号直线模组均为四个,四个一号直线模组对称设置在车体上并分别通过变足迹机构与二号直线模组相连接;移动机构设置在二号直线模组的下端;移动机构包括车轮罩、车轮、电机;变足迹机构包括一号杆、二号杆,一号杆与二号杆通过一号销轴呈X形铰接;悬架机构包括悬架弹簧、筒式阻尼器、悬架上支架、悬架下支架。本产品实现了无人驾驶且可以变足迹全向移动,转向机构简单、运动更加灵活、操作更加方便。
