当前位置:首 页 > 供需中心 > B部--作业;运输

找项目 找人才 找成果 找专利 找融资

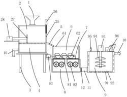
一种农村生活垃圾处理装置及方法
添加时间:2023-12-06 浏览次数: 148

专利号:2020100468657

本发明公开了一种农村生活垃圾处理装置及方法,本装置包括依次连通的进料斗、挤压室、液体室、分拣室、粉碎室及堆肥室;挤压室内设置有挤压板,液体室通过液体转运管与堆肥室相连通,分拣室内设置有分拣转轴,粉碎室内设置有多组粉碎转轴组,堆肥室内设置有搅拌轴;本方法为:经初步分选获得以有机物为主的生活垃圾,生活垃圾依次经挤压、分拣、粉碎后,经好氧堆肥处理后成为可被再次使用的作物肥料。本发明通过对农村生活垃圾处理,实现资源的循环利用,并保护了环境。


友情链接
FRIENDSHIP LINK
惠企知识产权研究院    
联系电话:0631-5166712 联系地址:山东省威海市环翠区城阳路36号606室 联系邮箱:kjcgzhcjh@163.com
版权所有:威海市科技成果转化促进会 鲁ICP备2023019057号-1