专利号:201910597090X
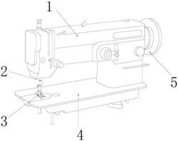
本发明公开了一种便于快速更换机针的纺织机,其结构包括机体、针夹、压脚、基座、手轮盘,机体的底面与基座的顶面固定连接,机体一侧安装有手轮盘,与现有技术相比,本发明的有益效果在于:无须使用外部工具,更换速度快,不影响缝制进行度,安装后的机针能够与工作台保持垂直,无须一手拿机针另一手进行固定操作,更加简便,能够有效防止手被机针扎到,大大提高了机针安装的安全性,能够适应于不同针号的机针且能够很好的对机针进行夹紧,能够保证与压脚的开口缝对齐,有助于提高纺织工艺,有效防止机针偏位而导致机针被压脚刚性压断。
