专利号:2018110673171
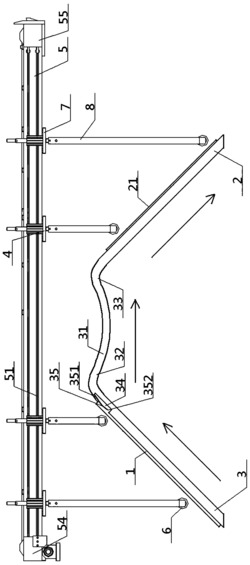
一种梯型的取布及留布一体化自动装置,包括印花台板、放布板、内凹弧板、水平传动装置、传动单元、升降单元与铺布辊,其中,印花台板、放布板均倾斜设置,放布板的顶端经水平放置的内凹弧板与印花台板的顶端相连接,印花台板、内凹弧板、放布板共构成的梯型结构的正上方设置有水平传动装置,水平传动装置内的传动带与传动单元的中部进行水平方向的传送配合,传动单元的两端经升降单元与位于其下方的铺布辊的两端相连接,铺布辊的辊面上设置有取布粘接装置,印花台板的板面上设置有留布粘接装置,取布/留布粘接装置优选为胶水层。本设计不仅工作效率较高、能流畅的进行铺布辊的上升与下降,而且可调性较强,应用范围较广。
