专利号:2018110506978
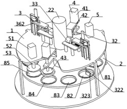
一种上下层夹颗粒层类工具的制作设备,包括颗粒添加装置、加热凝结装置、加压成型装置、底层衬板添加装置、顶层衬板添加装置,以及上下平行设置的固定平盘、转动平盘;所述转动平盘上设置的主制作区包括沿盘面依次排列的一号凹槽、二号凹槽、三号凹槽、四号凹槽与五号凹槽,其中,一号凹槽与底层衬板添加装置的出料口相通,二号凹槽与颗粒添加装置相对应,三号凹槽与顶层衬板添加装置的出料口相通,四号凹槽与加热凝结装置相对应,五号凹槽与加压成型装置相对应,且颗粒添加装置、加热凝结装置、加压成型装置在固定平盘的盘面上绕其圆心依次布置。本设计不仅工作效率较高,易操作与维护,而且产品质量较好,稳定性较高。
