专利号:2019103171550
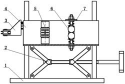
本发明涉及一种复合轧制多层金属的导卫装置。其技术方案是:底座(1)通过连接支架(2)与导卫架(4)活动连接,导卫架(4)的左侧装有入口导向轮(3),导卫架(4)内部从左向右依次装有2个宽厚调节辊(5)和2个预夹持辊(6),顶板(7)沿前后方向固定在导卫架(4)两侧侧板的顶部。2个宽厚调节辊(5)通过各自的调节辊安装孔(20)与两侧侧板活动连接,顶板(7)的上夹持辊安装孔(24)和导卫架(4)的底板的下夹持辊安装孔(21)对称地装有预夹持辊(6)。夹持辊座(30)和调节辊座(27)的结构相同,拉杆(34)的一端与辊座(36)的拉杆螺孔(37)螺纹连接,垫片(33)和辊座(36)间套装有弹簧(35)。本发明具有结构简单、成本低廉、维修方便、稳定性好和通用性强的特点。
