专利号:2018101096940
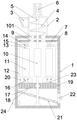
本发明公开了一种转动式医疗垃圾粉碎装置,包括筒体和驱动电机、中心研磨辊和蜗轮叶片盘;所述筒体内位于顶板下方抵接有上转盘,输出轴延伸至筒体内并贯穿上转盘,上转盘与输出轴固定连接;所述输出轴位于上转盘下方位置固定连接有中心研磨辊,中心研磨辊外侧呈圆周分布有多组从动研磨辊,筒体内壁位于从动研磨辊外侧设有研磨壁板。本发明通过设有中心研磨辊、从动研磨辊和研磨壁板组成的多层研磨机构,对医疗垃圾进行逐层的研磨,提高研磨效果;本发明通过设有涡轮叶片盘,将底部的物料向上抛起,使得研磨更加充分;本发明通过设有螺旋叶片、进料孔和下料孔,实现医疗垃圾的间歇下料同时避免进料管堵塞。
